طراحی مایکروسافت برای پشتی های قابل تعویض سطح لپ تاپ

گواهی ثبت اختراعی برای شخصی سازی دستگاه های محاسباتی مایکروسافت توسط کاربران منتشر شده است.

طراحی مایکروسافت برای پشتی های قابل تعویض سطح لپ تاپ

حق ثبت اختراع مایکروسافت در مورد روش جدیدی برای شخصی سازی دستگاه‌های Surface مطرح شده است. WindowsUnited اخیراً حق ثبت اختراع مایکروسافت را برای صفحه‌های پشتی قابل تعویض در لپ تاپ‌های این شرکت منتشر کرده است. اگرچه طرح‌های مورد بحث در این حق ثبت اختراع ممکن است هرگز به دستگاه‌های واقعی تبدیل نشوند، اما جالب است بدانید که چگونه مایکروسافت می‌تواند از صفحه‌های پشتی قابل تعویض استفاده کند.

شخصی سازی برای دستگاه‌های محاسباتی
همانطور که در بسیاری از اختراعات ثبت شده، این مورد به یک دستگاه Surface خاص اشاره نمی‌کند. در عوض، این گواهی فقط به دستگاه‌های محاسباتی اشاره دارد. اما اگر این طراحی هرگز عملیاتی نشود، می‌تواند به طور بالقوه در Surface Laptop 3، Surface Book 3 یا سایر دستگاه‌های Surface پیاده سازی شود.

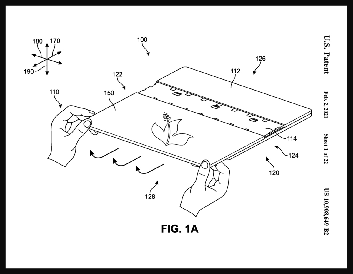
این حق ثبت اختراع یک صفحه پشتی یک دستگاه محاسباتی را توصیف می‌کند که کاربر به راحتی می‌تواند آن را عوض کند. این موضوع می‌تواند برای تغییر ظاهر دستگاه مفید باشد.

چکیده‌ای از گواهی حق ثبت اختراع
اجزای قابل تعویض برای محفظه نمایشگر یک دستگاه محاسباتی قابل حمل؛ مولفه قابل تعویض اندازه و ابعادی دارد که توسط یک قسمت دریافت کننده دستگاه محاسبات دریافت می‌شود. اولین مولفه قابل تعویض توسط کاربر نصب می‌شود تا ظاهر دستگاه محاسباتی خود را سفارشی کند و در صورت تمایل نیز به سرعت از دستگاه محاسباتی خارج شود. دومین مولفه قابل تعویض می‌تواند بر روی همان دستگاه محاسباتی نصب شود و ظاهر دستگاه محاسباتی آن‌ها را تغییر دهد. در صورت تمایل، می‌توان دومین مولفه قابل تعویض را حذف و اولین مولفه قابل تعویض را مجدداً نصب کرد و دستگاه محاسباتی را به شکل قبلی خود بازگرداند. اجزای پانل قابل تعویض و دستگاه محاسبات شامل مواردی برای حذف آسان و نصب اجزا می‌باشد.

راه‌های مختلف شخصی سازی لپ تاپ
در حال حاضر چندین روش برای شخصی سازی ظاهر لپ تاپ وجود دارد، مانند پوست و حتی روکش‌های ساخته شده از چوب. حق ثبت اختراع این گزینه‌ها را تأیید می‌کند، اما اشاره می‌کند که آن‌ها راه حل‌های کاملی نیستند.

برخی از کاور‌ها به راحتی برداشته نمی‌شوند و برداشتن برچسب از دستگاه می‌تواند زمان بر باشد. مردم همچنین می‌توانند به دستگاهی آسیب برسانند در حالی که سعی می‌کنند ظاهر آن را شخصی سازی کنند. حق ثبت اختراع مایکروسافت توضیح می‌دهد که چگونه یک صفحه قابل تعویض می‌تواند راهی آسان‌تر برای شخصی سازی دستگاه‌ها باشد.

منبع: باشگاه خبرنگاران جوان

46

شبکه‌های اجتماعی
دیدگاهتان را بنویسید