پوشیدنی ها

پتنت جدید اپل: اپل واچ شما را در مقابل اشعه‌ مضر خورشید محافظت می‌کند

پتنت جدید اپل حاکی از آن است که اپل‌واچ می‌تواند با پایش اشعه‌ی UV، کاربران را در برابر خطرات ناشی از آفتاب‌سوختگی محافظت کند. 

پتنت جدید اپل: اپل واچ شما را در مقابل اشعه‌ مضر خورشید محافظت می‌کند

اپل‌واچ ‌می‌تواند به کاربران کمک کند تا از خطر آفتاب‌سوختگی، پیری زودرس پوست و حتی سرطان پوست در امان باشند. در صورتی که کاربران بیش از حد در معرض اشعه‌‌ی مضر خورشید از جمله ماوراء بنفش قرار گرفته باشند، پتنت جدید اپل به آنها هشدار می‌دهد.

قرار گرفتن بیش از حد در معرض اشعه‌ی ماوراء بنفش، می‌تواند تاثیرات جدی بر سلامت کاربر داشته باشد. برخی تاثیرات اشعه‌ی ماورا بنفش از بقیه‌ی اثرات آن جدی‌تر است. کاربرانی که حمام آفتاب می‌گیرند ولی به‌اندازه‌ی کافی از پوست خود محافظت نمی‌کنند، یا مدت زمان طولانی در معرض نور خورشید قرار دارند؛ بیش از بقیه‌ی افراد در معرض خطرات ناشی از آفتاب سوختگی از جمله سرطان پوست قرار دارند. تاثیر اشعه‌ی UV می‌تواند منجر به بروز آسیب‌‌های مختلفی به پوست از جمله تخریب خاصیت الاستیکی پوست و از بین رفتن بافت کلاژن و تغییر رنگ در آن شود.

پتنت اپل


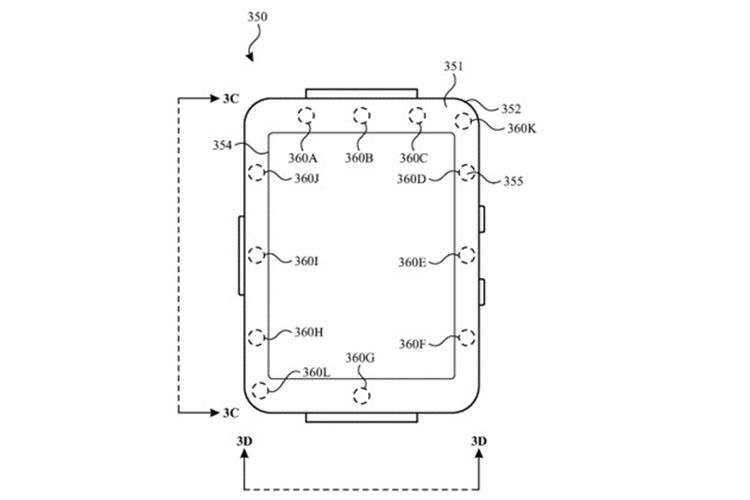
با توجه به خطرات ذکرشده ناشی از ماندن بیش از حد در معرض اشعه‌ی خورشید، اپل معتقد است تشخیص اینکه آیا کاربر خارج از منزل است و همچنین اینکه کاربر چه مدت زمانی در بیرون منزل در معرض اشعه‌ی UV قرار دارد، حائز اهمیت است. روز سه‌شنبه، پتنت جدیدی در اداره ثبت اختراع و علائم تجاری ایالات متحده، با عنوان دوزیمتری اشعه‌ی UV و هشدار قرار گرفتن در معرض آن ثبت شد. این پتنت سیستمی را توصیف می‌کند که در آن سنسورهایی تعبیه شده است که می‌توانند اشعه‌ی UV را تشخیص دهند و مدت زمانی را که کاربر در معرض آن قرار می‌گیرد مشخص می‌کند. درنهایت سیستم می‌تواند به کاربر هشدار دهد که بیش از حد در معرض اشعه‌ی مضر خورشید قرار گرفته است. علاوه‌بر این، چنین سیستمی می‌تواند راهکارها و اقدامات پیشگیرانه‌ای به کاربری که بیش از حد در معرض نور خورشید قرار گرفته است، پیشنهاد بدهد.

در حالی که اپل، به استفاده از یک دستگاه اشاره می‌کند؛ تصاویر ارائه‌شده برای پتنت حاکی از آن است که این سیستم بخشی از اپل‌واچ خواهد بود. البته منطقی است که اپل بخواهد این سیستم را در اپل‌واچ پیاده‌سازی کند که دستگاهی همراه کاربر است و معمولا در معرض نور قرار می‌گیرد و در نتیجه برای پایش اشعه‌ی مضر خورشید مناسب است.

براساس اطلاعات ثبت‌شده در پتنت اپل، دستگاه مورد نظر شامل تعدادی سنسور UV است که می‌تواند بیرون بودن کاربر را تشخیص دهد و درنتیجه، مدت زمانی که کاربر در معرض اشعه‌ی خورشید قرار گرفته است را پایش کند. داده‌های سنسورها تجزیه‌وتحلیل می‌شوند و کل زمان قرارگرفتن کاربر در معرض نور خورشید مشخص می‌شود و با توجه به میزان اشعه‌ی ماوراء بنفش که کاربر را در معرض آن قرار دارد، توصیه‌هایی به وی ارائه خواهد شد.

پتنت اپل

همچنین، این سیستم می‌تواند توسط سنسورهای دیگری از جمله حسگر نور محیطی و حسگر مادون قرمز تقویت شود. در چنین وضعیتی، سیستم قادر است اطلاعات دقیق‌تری در مورد میزان اشعه‌ی خورشید که کاربر در معرض آن قرار دارد یا مدت زمانی که کاربر در خارج از منزل یا در محیط‌های داخلی، و در اصل در معرض منابع متفاوت نور قرار دارد، ارائه دهد که بر نتیجه‌ی کلی گزارش تاثیرگذار است.

به‌منظور افزایش کیفیت نتایج، اپل‌واچ می‌تواند از شاخص اطلاعات مربوط به اشعه‌ی UV برای ساعات مختلف روز، به‌استناد گزارش‌های هواشناسی و بدون درنظر گرفتن موقعیت مکانی استفاده کند. با توجه به اینکه این شاخص‌ها در ساعات مختلف روز تغییر می‌کند، ساعت‌هایی که اشعه‌ی UV بیشترین تاثیر مخرب را بر پوست ایجاد می‌کنند، به کاربر در قالب هشدار، اطلاع‌رسانی می‌شود. خصوصا اگر کاربر مدت زمان زیادی در معرض نور خورشید قرار گرفته باشد، مجددا سیستم به وی هشدار می‌دهد.

اپل واچ سری 4

از آنجایی که اپل، پتنت‌های مختلفی را به ثبت می‌‌رساند، ثبت پتنتی جدید به‌معنی اجرای آن نیست و تضمین نمی‌کند که قطعا قصد دارد پتنت مربوطه را توسعه دهد و مشخص نیست آیا در محصول بعدی اپل شاهد چنین ویژگی‌هایی باشیم یا خیر. توانایی پایش میزان قرارگیری کاربر در برابر اشعه‌ی UV در اپل‌واچ‌، توسعه‌ی قابل‌ملاحظه‌ای است. در حال حاضر اپل‌واچ سری ۴، ویژگی‌های خوبی در حوزه‌ی سلامت از جمله ردیابی تناسب اندام و ‌پایش ECG در اختیار کاربران قرار می‌دهند. پیشتر گفته شده بود که اپل واچ سری ۴ توانایی ثبت نوار قلب کاربر را دارد.

البته این اولین بار نیست که اپل راهکارهایی برای حفاظت کاربران دربرابر اشعه‌های مضر خورشید به ثبت می‌رساند؛ در ماه ژوئیه، پتنت دیگری تحت عنوان «تشخیص محافظتی مبتنی بر نور» به ثبت رسانده بود. این پتنت نشان می‌داد که چگونه دستگاه‌های اپل می‌توانند تشخیص دهند که استفاده از کرم‌های ضد آفتاب تا چه حد از کاربر محافظت می‌کند. این پتنت به کاربر توصیه ‌می‌کند که چه قسمت‌هایی از بدن نیاز به محافظت بیشتری دارند و بیشتر در معرض نور خورشید قرار می‌گیرند و همچنین به کاربر توصیه می‌کند که در چه زمان‌هایی بیشتر نیاز به محافظت در برابر اشعه‌ی مضر خورشید خواهد داشت.

منبع: زومیت

15

شبکه‌های اجتماعی
دیدگاهتان را بنویسید