برای ورود به منطقه رباتیک؛

آمازون حق امتیاز قفس را برای کارمندانش ثبت کرد

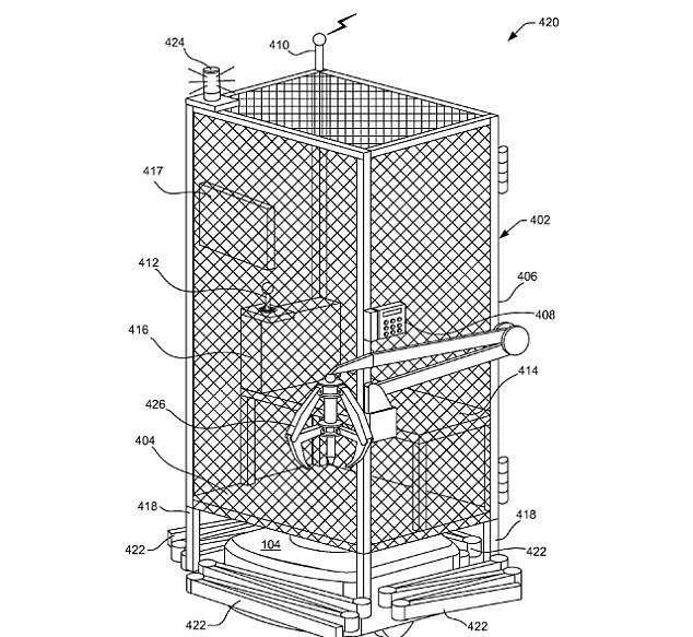
یک شرکت خرده فروشی آنلاین حق امتیاز اختراع قفسی را ثبت کرده که کارمندان درون آن قرار می گیرند و می توانند وارد منطقه های تمام رباتیک انبار شوند.

آمازون حق امتیاز قفس را برای کارمندانش ثبت کرد

آمازون حق امتیاز اختراع جدیدی ثبت کرده است. طبق این حق امتیاز کارمندان درون قفس هایی قرار داده می شوند تا بخش هایی از انبار را رصد کنند که توسط ربات ها کنترل می شود.

این حق امتیاز در ۲۰۱۶ میلادی ثبت شده است. در این حق امتیاز سیستمی در نظر گرفته شده که به انسان اجازه می دهد به طور ایمن وارد منطقه ربات ها شود و کالاها را تحویل دهند. این قفس، یک راه حمل و نقل انسان نام گرفته است.

یک بازوی رباتیک به قفس متصل است و به کاربر اجازه می دهد کالاها را بردارد.

انبارهای بزرگ آمازون حاوی منطقه هایی حصار کشی است که ربات ها در آنها مشغول انتقال و تحویل کالاها به کارمندان هستند.

کارمندان برای حفظ ایمنی نمی توانند وارد این منطقه بشوند.

منبع: مهر

729

شبکه‌های اجتماعی
دیدگاهتان را بنویسید